каталог товаров
СОБЕРИЗАВОД

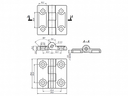
Петля цинковая 20, H43 Арт. H43

штука
технические характеристики
Паз: 6
Серия: 20
Масса: 0,042 кг / шт
Материал: цинк

Описание товара

   Используются для навески дверей, лючков в модульной системе алюминиевых конструкционных станочных профилей.