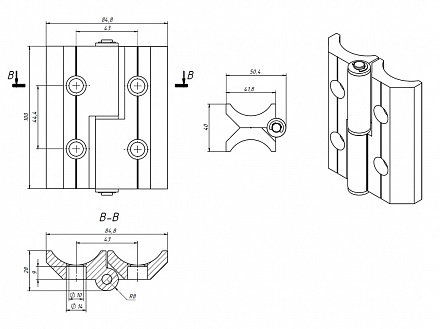
Петля ограждения, V00 Арт. V00
технические характеристики
| Паз: | 10 |
| Серия: | 40 |
| Масса: | 0,458 кг / шт |
| Материал: | алюминий |
| Покрытие: | анодирование |
Описание товара
Петля используется вместе с алюминиевой трубой 44PL для навески дверей, ограждений.
| Паз: | 10 |
| Серия: | 40 |
| Масса: | 0,458 кг / шт |
| Материал: | алюминий |
| Покрытие: | анодирование |
Вы уверены что хотите очистить корзину?